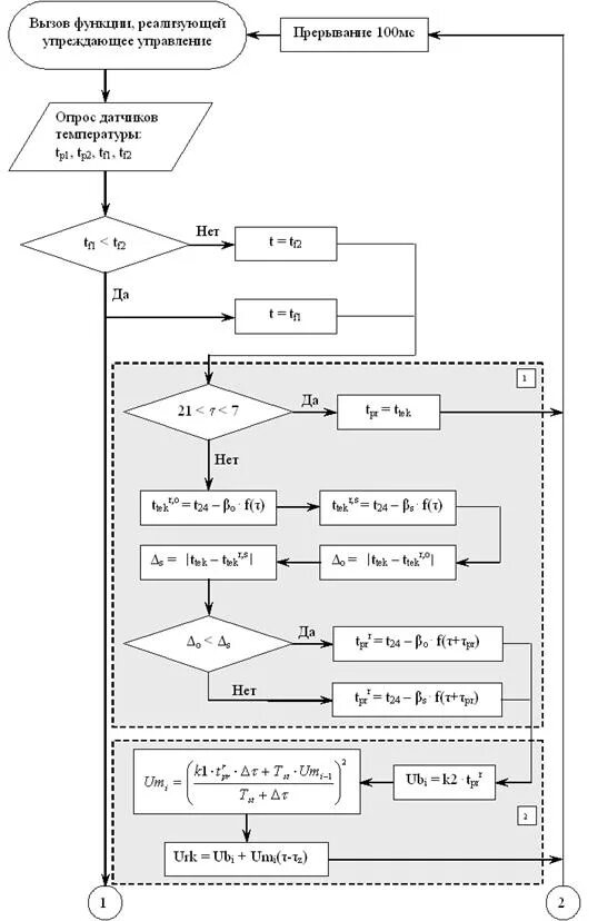
Алгоритма системы управления