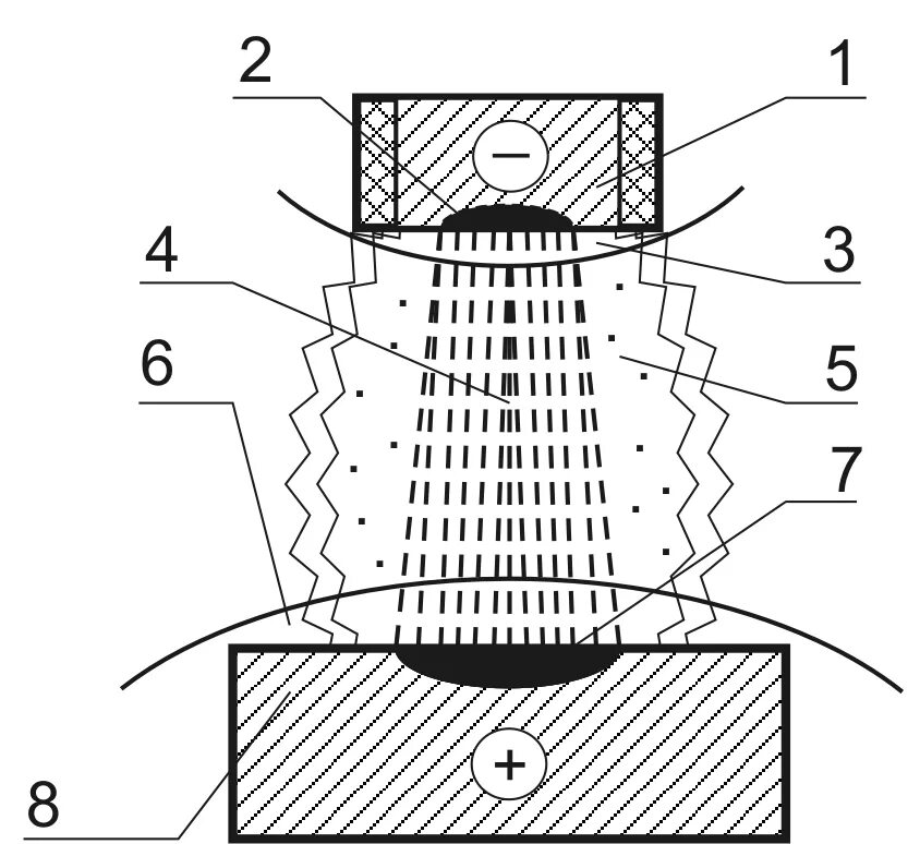
Анодным пятном в сварочной дуге называется