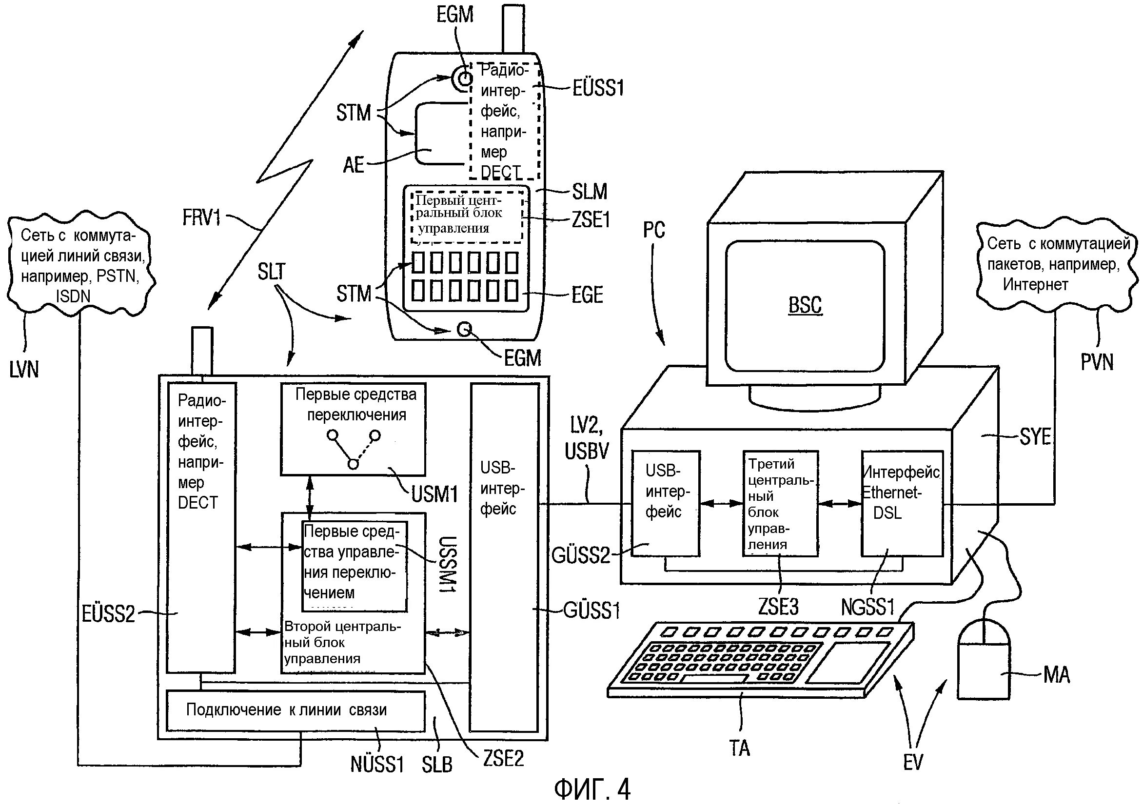
Аппараты передачи данных