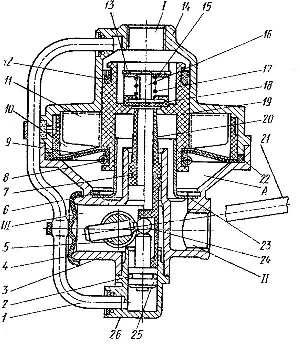
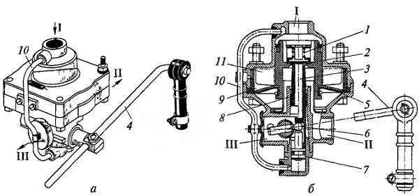
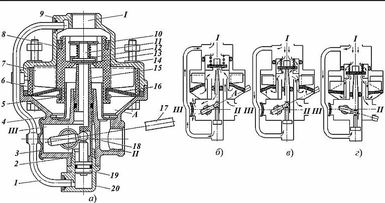
Автоматический регулятор тормозных