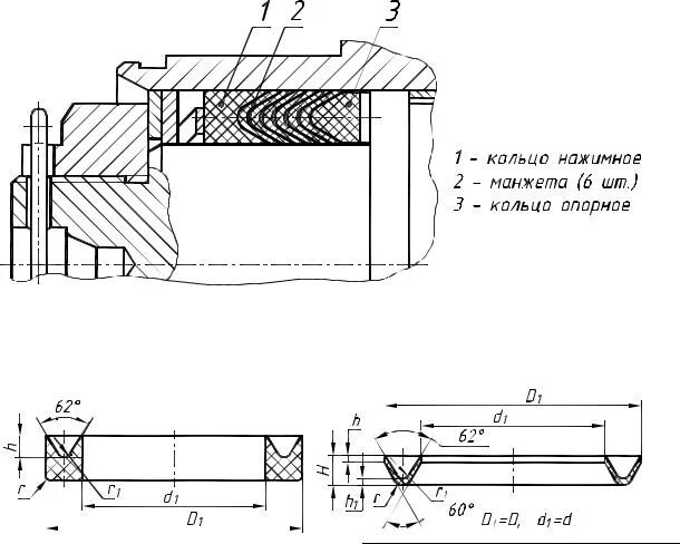
Чертеж манжеты