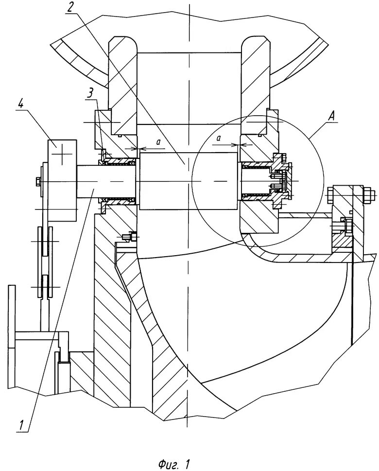
Датчик положения направляющего аппарата турбонагнетателя