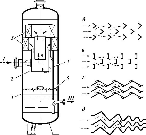
Для чего предназначен сепаратор