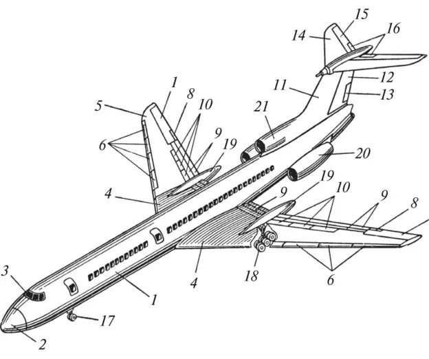
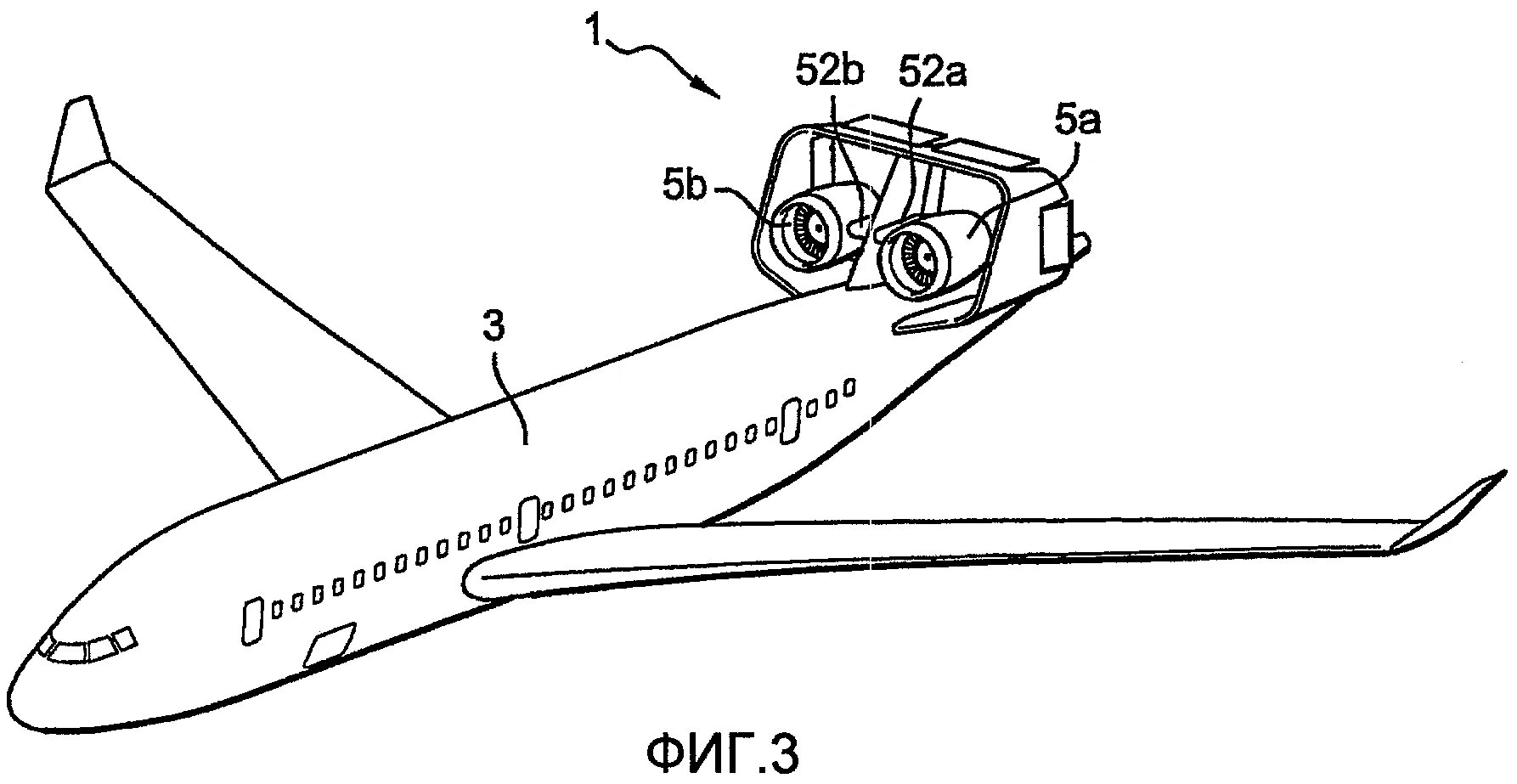
Хвост самолета как называется