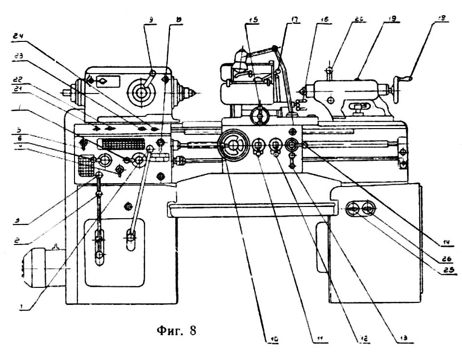
Инструкция токарного станка