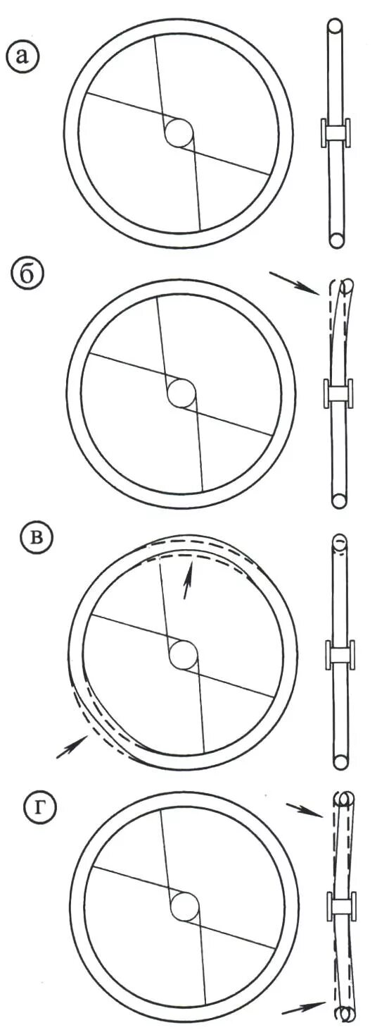
Как исправить восьмерку