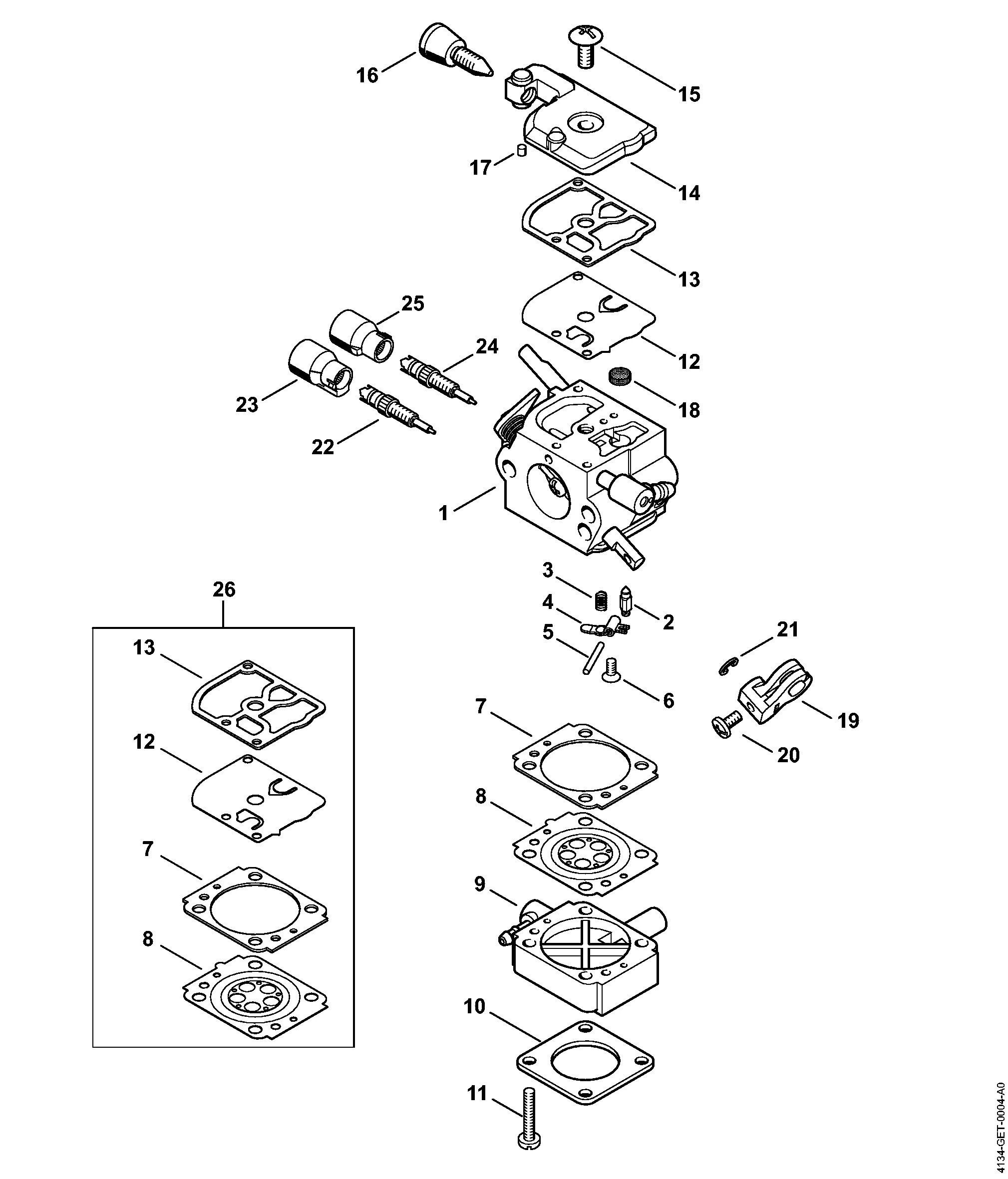
Как отрегулировать карбюратор на триммере штиль