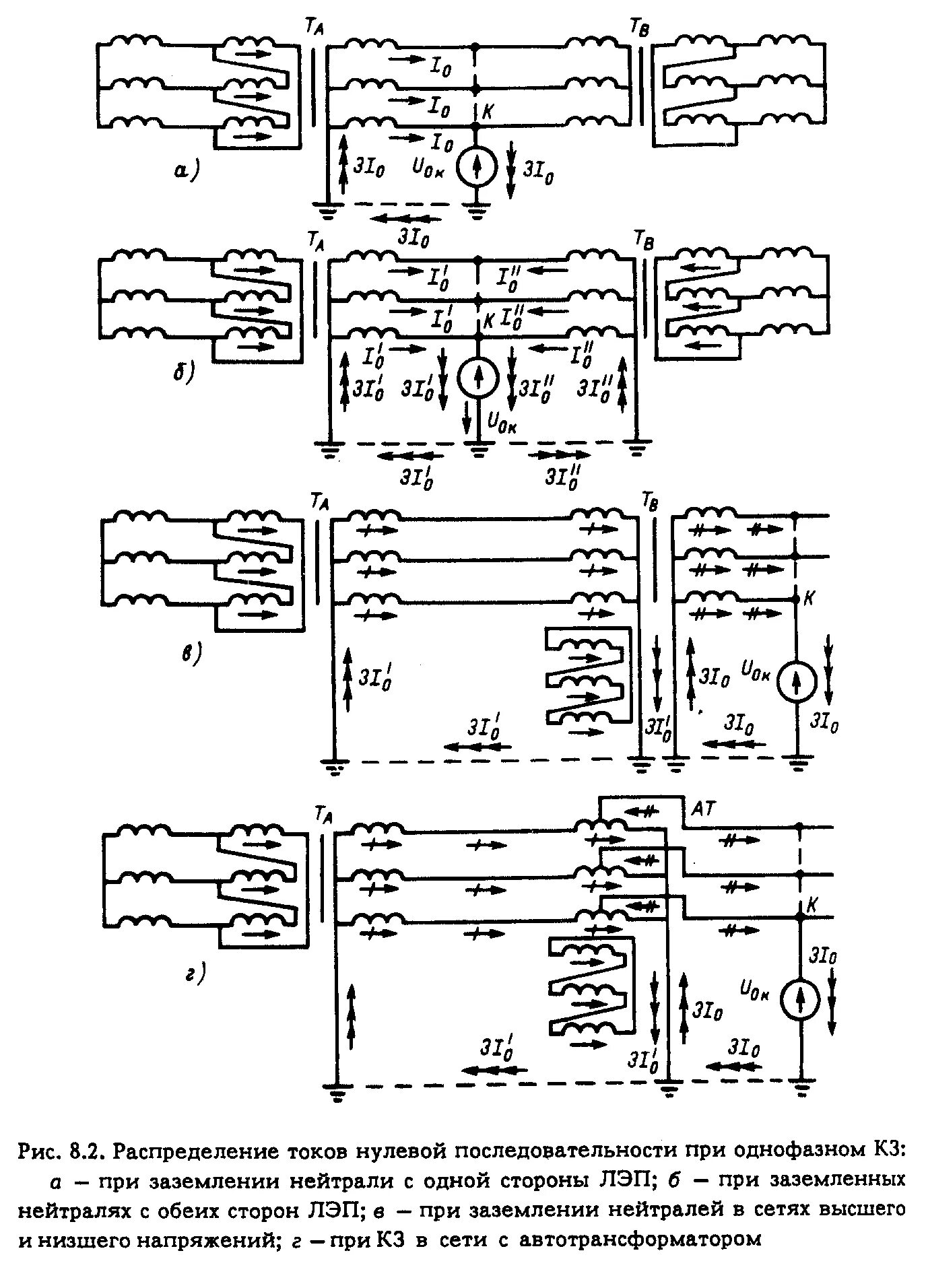
Каком трансформатор нулевой последовательности