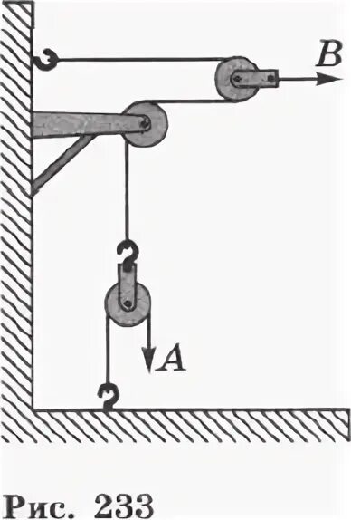
Какую силу надо приложить к тросу а