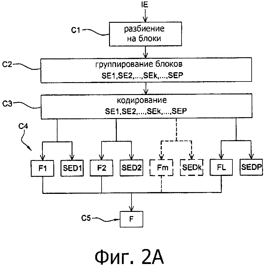
Кодирование потоковых данных