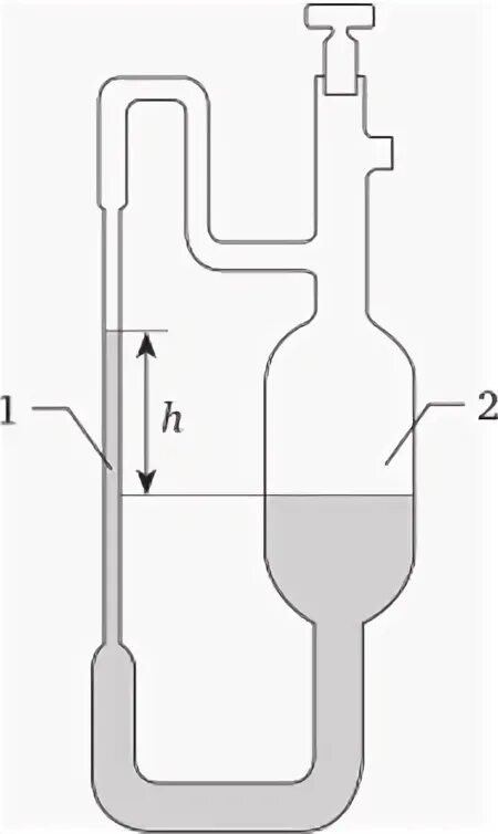
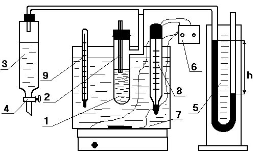
Метод максимального давления