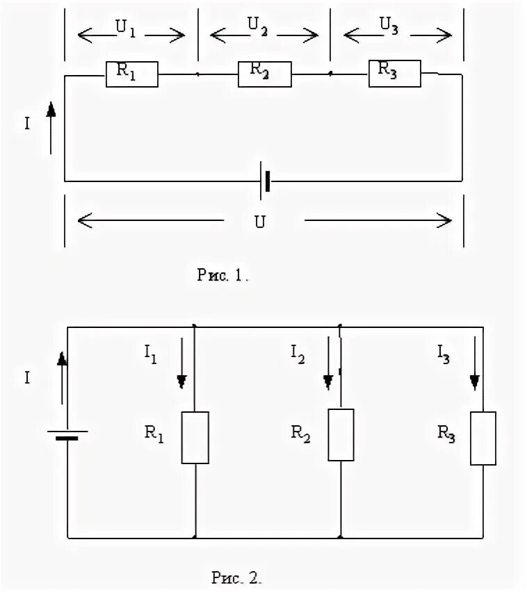
На каком рисунке изображено последовательное соединение резисторов