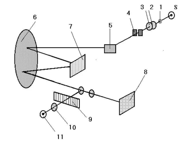
На рисунке представлен спектрограф укажите