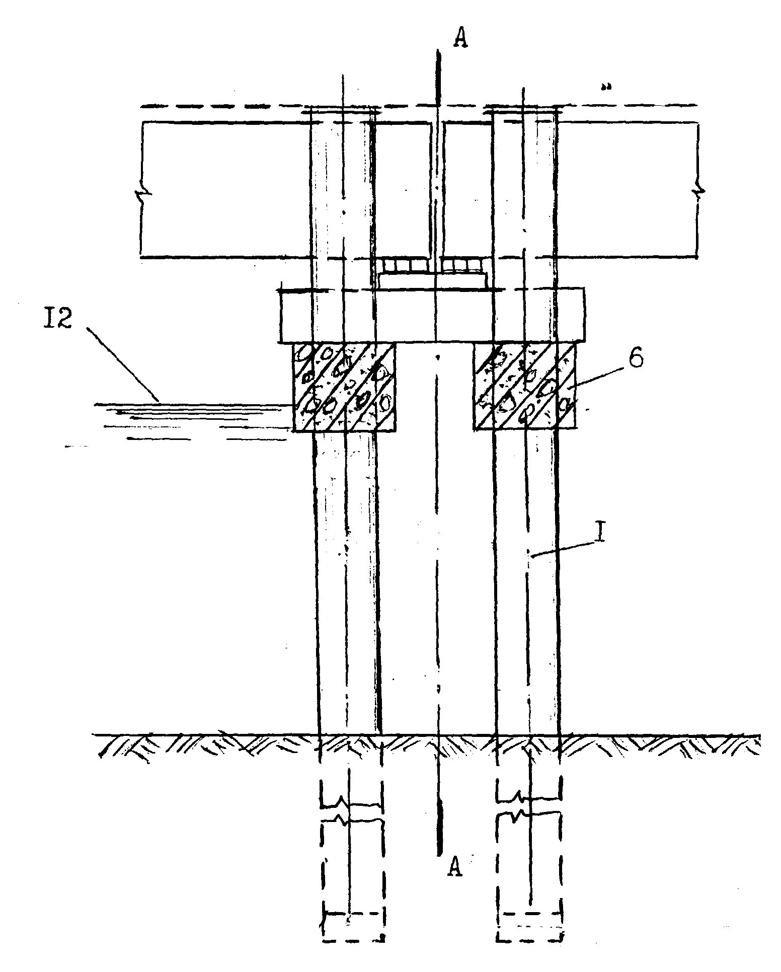
Опоры мостов фундаменты строений испытывают деформацию