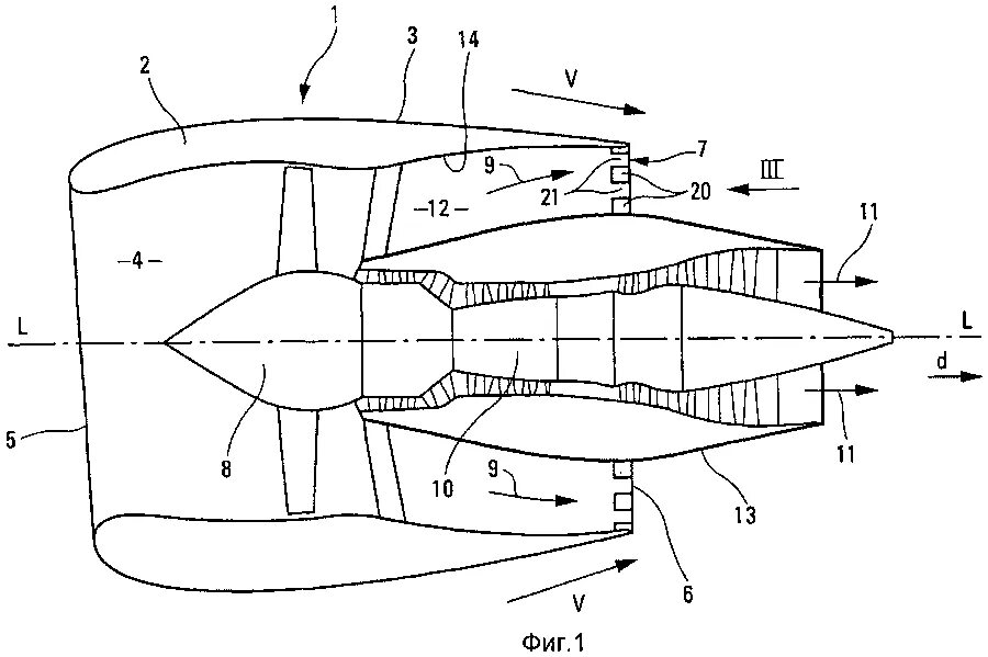
Принцип устройства реактивного двигателя