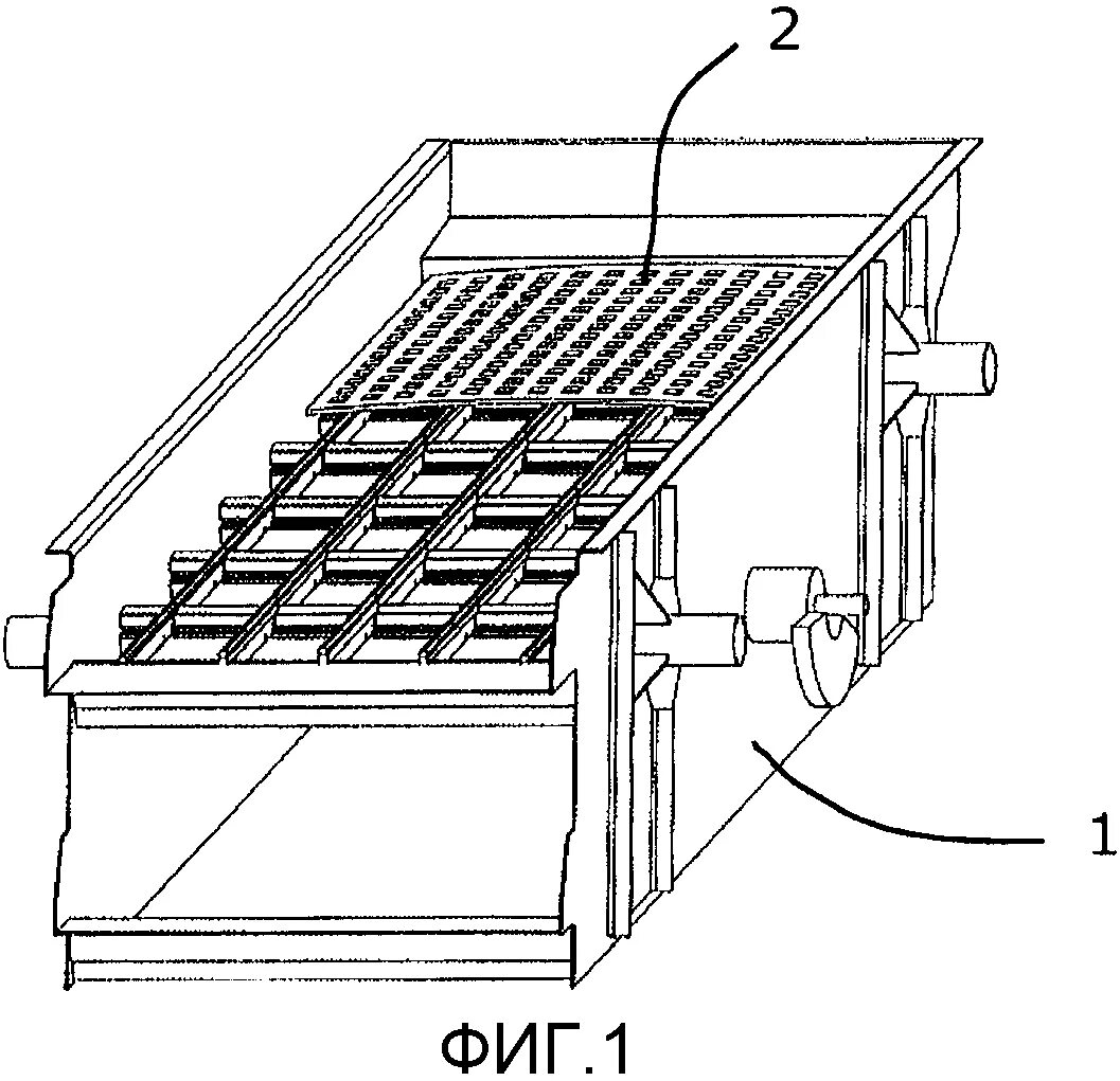
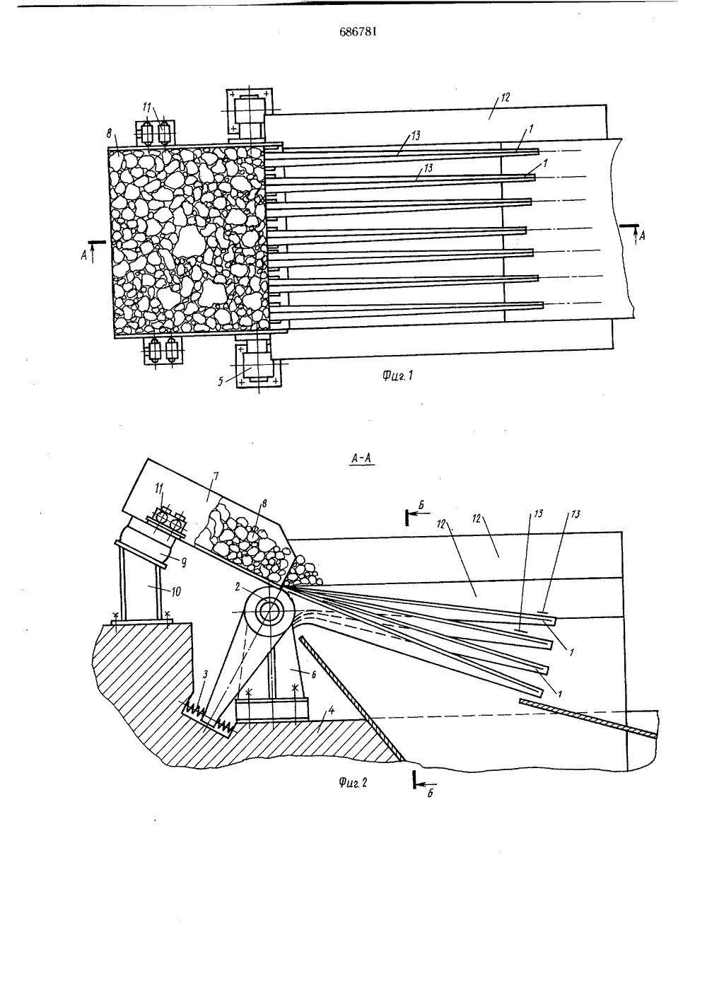
Работа грохота