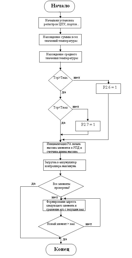
Реализация алгоритма управления