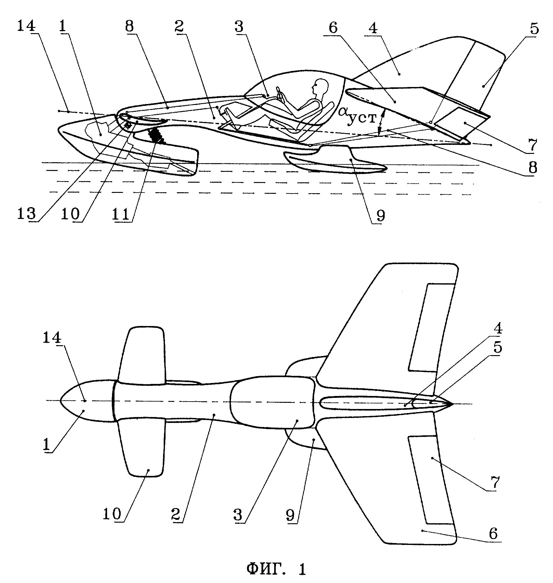
Схема утка самолет