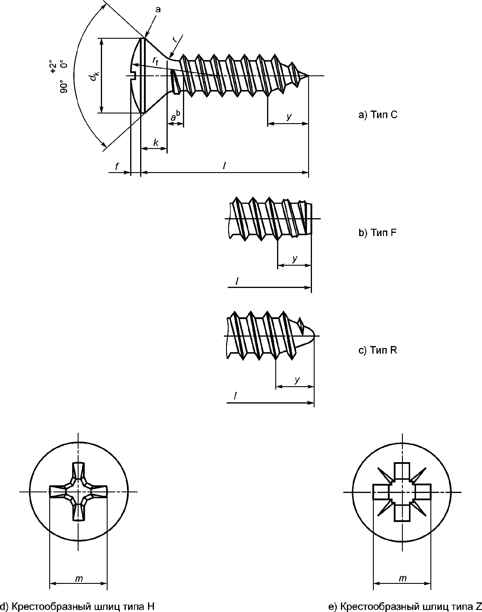
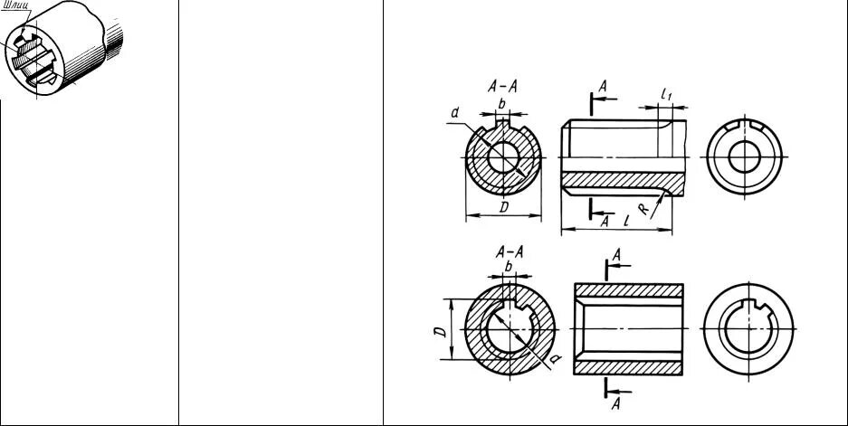
Шлицы iso