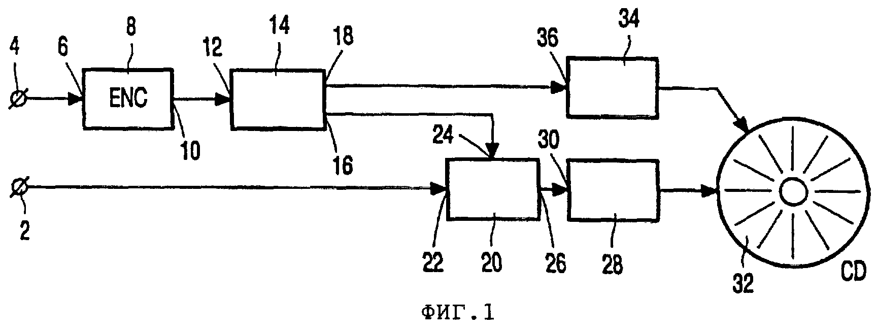
Сигнал данных