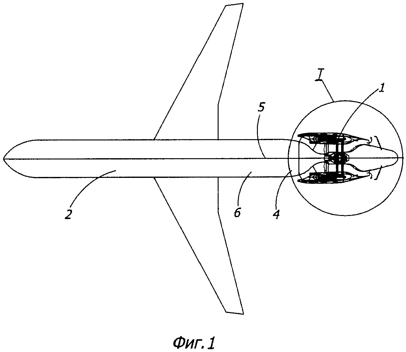
Силовые установки воздушного судна