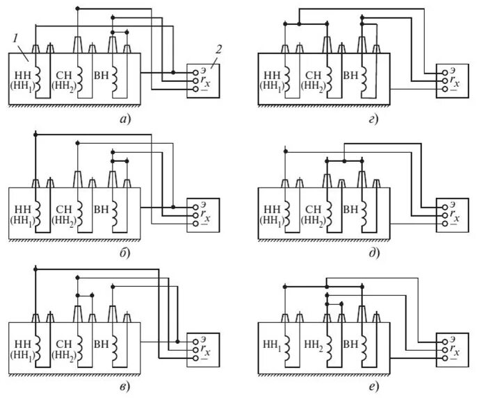
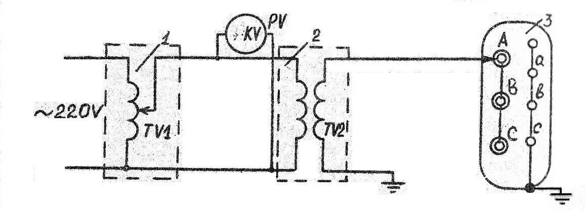
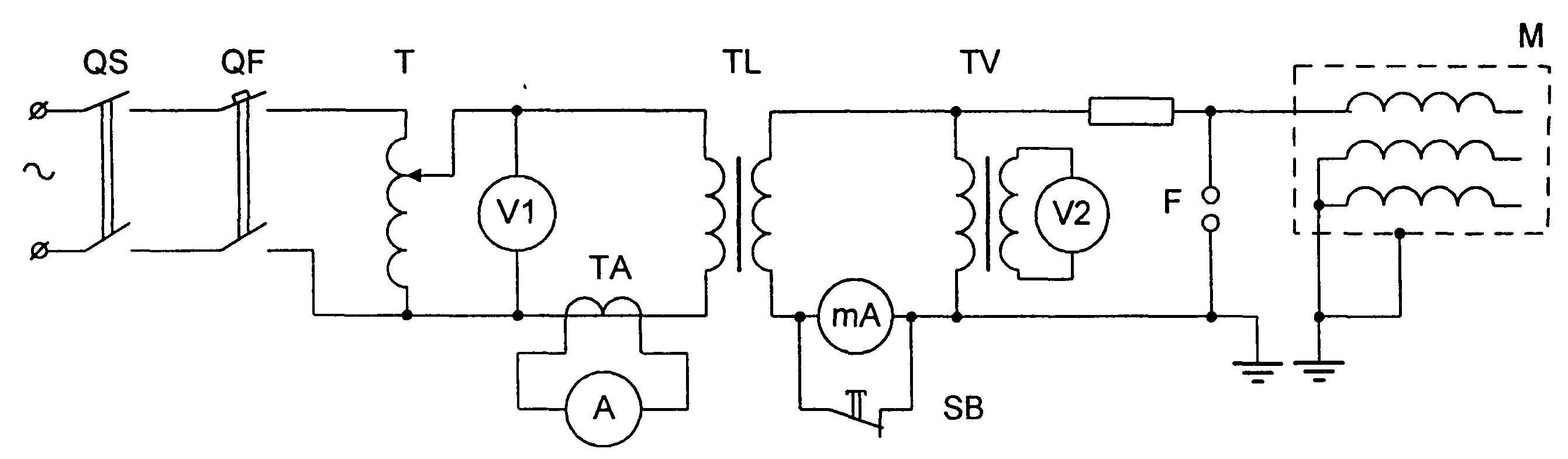
Сопротивление изоляции трансформатора напряжения