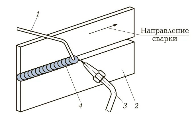
Сварка швов в горизонтальном положении