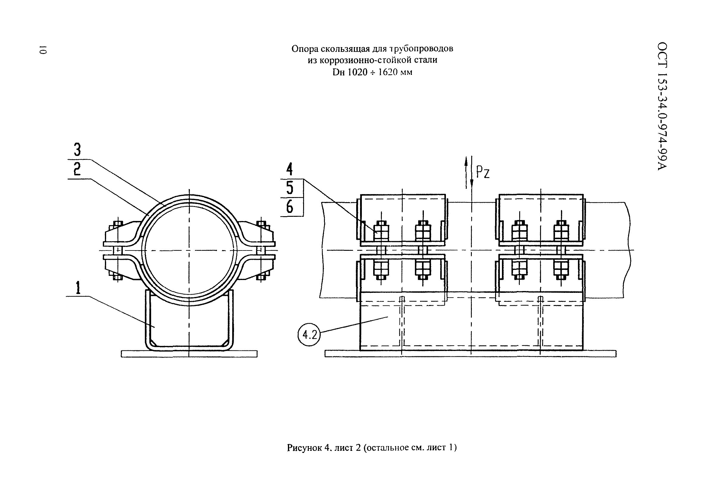
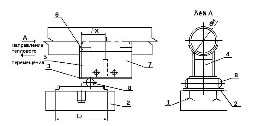
Установка скользящих опор