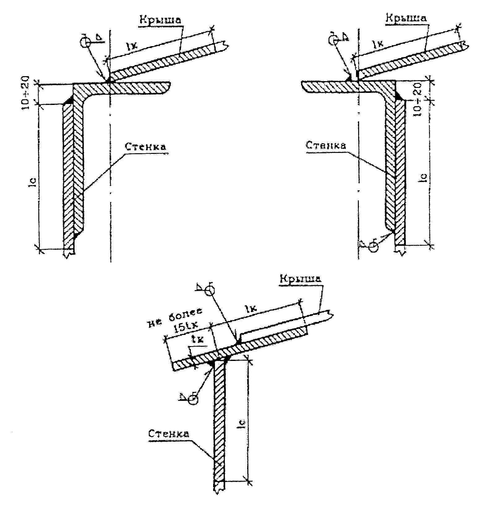
Всн 311 89