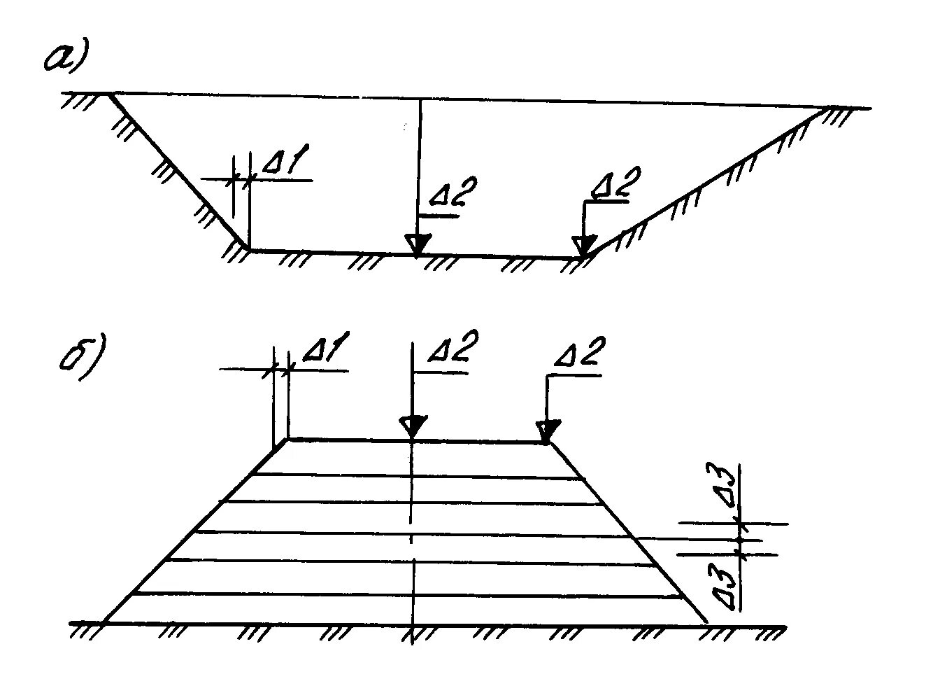
Выемка на карте