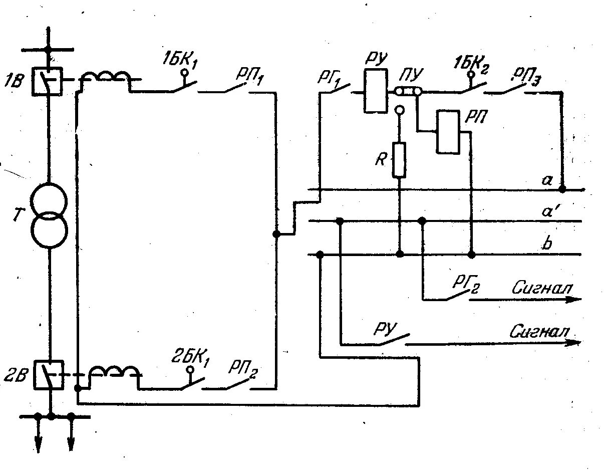
Защита трансформатора от внутренних повреждений